功能简介
Spring中ConfigurationClassPostProcessor的postProcessBeanDefinitionRegistry()方法,用于循环处理BeanDefinition中被 @Configuration @Component @ComponentScan @Import @ImportResource 注解修饰的类,以及这些类中被 @Bean 注解修饰的方法。
源码分析
整体脉络
public void processConfigBeanDefinitions(BeanDefinitionRegistry registry) {
// 该轮处理中有效的BeanDefinition
List<BeanDefinitionHolder> configCandidates = new ArrayList<BeanDefinitionHolder>();
// 当前BeanFactory中所有的BeanDefinitionName
String[] candidateNames = registry.getBeanDefinitionNames();
for (String beanName : candidateNames) {
BeanDefinition beanDef = registry.getBeanDefinition(beanName);
...
// 如果被特定注解修饰,则将其加入到待处理的集合中
else if (ConfigurationClassUtils.checkConfigurationClassCandidate(beanDef, this.metadataReaderFactory)) {
configCandidates.add(new BeanDefinitionHolder(beanDef, beanName));
}
}
...
// Parse each @Configuration class
ConfigurationClassParser parser = new ConfigurationClassParser(
this.metadataReaderFactory, this.problemReporter, this.environment,
this.resourceLoader, this.componentScanBeanNameGenerator, registry);
// 本次需要处理的BeanDefinition
Set<BeanDefinitionHolder> candidates = new LinkedHashSet<BeanDefinitionHolder>(configCandidates);
// 已经处理过的BeanDefinition
Set<ConfigurationClass> alreadyParsed = new HashSet<ConfigurationClass>(configCandidates.size());
do {
parser.parse(candidates);
parser.validate();
// 获取以candidates为根节点的搜索链中搜索到的BeanDefinition
Set<ConfigurationClass> configClasses = new LinkedHashSet<ConfigurationClass>(parser.getConfigurationClasses());
// 去除已经处理过注解的BeanDefinition
configClasses.removeAll(alreadyParsed);
// Read the model and create bean definitions based on its content
if (this.reader == null) {
this.reader = new ConfigurationClassBeanDefinitionReader(
registry, this.sourceExtractor, this.resourceLoader, this.environment,
this.importBeanNameGenerator, parser.getImportRegistry());
}
// 将这些BeanDefinition注册到BeanFactory
this.reader.loadBeanDefinitions(configClasses);
// 加入到已经处理过的BeanDefinition集合
alreadyParsed.addAll(configClasses);
// 清空本次需要处理的BeanDefinition集合
candidates.clear();
// 如果本次加入了新的BeanDefinition,还需要处理这些新的BeanDefinition
if (registry.getBeanDefinitionCount() > candidateNames.length) {
String[] newCandidateNames = registry.getBeanDefinitionNames();
Set<String> oldCandidateNames = new HashSet<String>(Arrays.asList(candidateNames));
Set<String> alreadyParsedClasses = new HashSet<String>();
for (ConfigurationClass configurationClass : alreadyParsed) {
alreadyParsedClasses.add(configurationClass.getMetadata().getClassName());
}
// 把新增加的bd加入candidates集合,循环进行处理
for (String candidateName : newCandidateNames) {
if (!oldCandidateNames.contains(candidateName)) {
BeanDefinition bd = registry.getBeanDefinition(candidateName);
if (ConfigurationClassUtils.checkConfigurationClassCandidate(bd, this.metadataReaderFactory) &&
!alreadyParsedClasses.contains(bd.getBeanClassName())) {
candidates.add(new BeanDefinitionHolder(bd, candidateName));
}
}
}
candidateNames = newCandidateNames;
}
}
while (!candidates.isEmpty());
...
}
public static boolean checkConfigurationClassCandidate(BeanDefinition beanDef, MetadataReaderFactory metadataReaderFactory) {
String className = beanDef.getBeanClassName();
...
AnnotationMetadata metadata;
// 获取BeanDefinition的注解
// 通常,通过注解得到的BeanDefinition,为AnnotatedBeanDefinition实现类
if (beanDef instanceof AnnotatedBeanDefinition &&
className.equals(((AnnotatedBeanDefinition) beanDef).getMetadata().getClassName())) {
// Can reuse the pre-parsed metadata from the given BeanDefinition...
metadata = ((AnnotatedBeanDefinition) beanDef).getMetadata();
}
// 通过XML得到的BeanDefinition,为GenericBeanDefinition,
// 为AbstractBeanDefinition子类
else if (beanDef instanceof AbstractBeanDefinition && ((AbstractBeanDefinition) beanDef).hasBeanClass()) {
// Check already loaded Class if present...
// since we possibly can't even load the class file for this Class.
Class<?> beanClass = ((AbstractBeanDefinition) beanDef).getBeanClass();
metadata = new StandardAnnotationMetadata(beanClass, true);
}
// 此外,还有RootBeanDefinition,自己定义的BeanDefinition,通过反射获取注解
else {
try {
MetadataReader metadataReader = metadataReaderFactory.getMetadataReader(className);
metadata = metadataReader.getAnnotationMetadata();
}
catch (IOException ex) {
if (logger.isDebugEnabled()) {
logger.debug("Could not find class file for introspecting configuration annotations: " + className, ex);
}
return false;
}
}
// 被@Configuration注解修饰,设置属性为full
if (isFullConfigurationCandidate(metadata)) {
beanDef.setAttribute(CONFIGURATION_CLASS_ATTRIBUTE, CONFIGURATION_CLASS_FULL);
}
// 被@Component @ComponentScan @Import @ImportResource @Bean 注解修饰
// 设置属性为lite
else if (isLiteConfigurationCandidate(metadata)) {
beanDef.setAttribute(CONFIGURATION_CLASS_ATTRIBUTE, CONFIGURATION_CLASS_LITE);
}
// 如果没有被以上注解修饰,则不处理该BeanDefinition
else {
return false;
}
...
return true;
}
protected void processConfigurationClass(ConfigurationClass configClass) throws IOException {
...
// Recursively process the configuration class and its superclass hierarchy.
SourceClass sourceClass = asSourceClass(configClass);
// 循环处理父类
do {
sourceClass = doProcessConfigurationClass(configClass, sourceClass);
}
while (sourceClass != null);
// 被parse()方法调用过的configClass,都是BeanDefinition,后续需要加入到BeanFactory中
this.configurationClasses.put(configClass, configClass);
}
protected final SourceClass doProcessConfigurationClass(ConfigurationClass configClass, SourceClass sourceClass)
throws IOException {
// Recursively process any member (nested) classes first
// 递归扫描内部类
processMemberClasses(configClass, sourceClass);
// Process any @PropertySource annotations
// 处理@PropertySource注解
for (AnnotationAttributes propertySource : AnnotationConfigUtils.attributesForRepeatable(
sourceClass.getMetadata(), PropertySources.class,
org.springframework.context.annotation.PropertySource.class)) {
if (this.environment instanceof ConfigurableEnvironment) {
processPropertySource(propertySource);
}
else {
logger.warn("Ignoring @PropertySource annotation on [" + sourceClass.getMetadata().getClassName() +
"]. Reason: Environment must implement ConfigurableEnvironment");
}
}
// Process any @ComponentScan annotations
// 处理@ComponentScan注解
Set<AnnotationAttributes> componentScans = AnnotationConfigUtils.attributesForRepeatable(
sourceClass.getMetadata(), ComponentScans.class, ComponentScan.class);
if (!componentScans.isEmpty() &&
!this.conditionEvaluator.shouldSkip(sourceClass.getMetadata(), ConfigurationPhase.REGISTER_BEAN)) {
for (AnnotationAttributes componentScan : componentScans) {
// The config class is annotated with @ComponentScan -> perform the scan immediately
Set<BeanDefinitionHolder> scannedBeanDefinitions =
this.componentScanParser.parse(componentScan, sourceClass.getMetadata().getClassName());
// Check the set of scanned definitions for any further config classes and parse recursively if needed
for (BeanDefinitionHolder holder : scannedBeanDefinitions) {
BeanDefinition bdCand = holder.getBeanDefinition().getOriginatingBeanDefinition();
if (bdCand == null) {
bdCand = holder.getBeanDefinition();
}
if (ConfigurationClassUtils.checkConfigurationClassCandidate(bdCand, this.metadataReaderFactory)) {
parse(bdCand.getBeanClassName(), holder.getBeanName());
}
}
}
}
// Process any @Import annotations
// 递归遍历该类的所有注解,处理所有@Import
processImports(configClass, sourceClass, getImports(sourceClass), true);
// Process any @ImportResource annotations
// 处理所有@ImportResource
if (sourceClass.getMetadata().isAnnotated(ImportResource.class.getName())) {
AnnotationAttributes importResource =
AnnotationConfigUtils.attributesFor(sourceClass.getMetadata(), ImportResource.class);
String[] resources = importResource.getStringArray("locations");
Class<? extends BeanDefinitionReader> readerClass = importResource.getClass("reader");
for (String resource : resources) {
String resolvedResource = this.environment.resolveRequiredPlaceholders(resource);
configClass.addImportedResource(resolvedResource, readerClass);
}
}
// Process individual @Bean methods
// 扫描所有被@Bean修饰的方法
Set<MethodMetadata> beanMethods = retrieveBeanMethodMetadata(sourceClass);
for (MethodMetadata methodMetadata : beanMethods) {
configClass.addBeanMethod(new BeanMethod(methodMetadata, configClass));
}
// Process default methods on interfaces
// 扫描实现的接口中所有被@Bean修饰的默认方法
processInterfaces(configClass, sourceClass);
// Process superclass, if any
// 扫描该类继承的父类,循环处理父类主流程
if (sourceClass.getMetadata().hasSuperClass()) {
String superclass = sourceClass.getMetadata().getSuperClassName();
if (!superclass.startsWith("java") && !this.knownSuperclasses.containsKey(superclass)) {
this.knownSuperclasses.put(superclass, configClass);
// Superclass found, return its annotation metadata and recurse
return sourceClass.getSuperClass();
}
}
// No superclass -> processing is complete
return null;
}
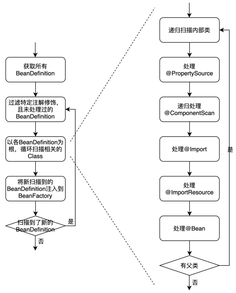
递归扫描内部类
private void processMemberClasses(ConfigurationClass configClass, SourceClass sourceClass) throws IOException {
// 循环处理每个内部类
for (SourceClass memberClass : sourceClass.getMemberClasses()) {
// 如果被上述注解修饰,processConfigurationClass重新处理该内部类
if (ConfigurationClassUtils.isConfigurationCandidate(memberClass.getMetadata()) &&
!memberClass.getMetadata().getClassName().equals(configClass.getMetadata().getClassName())) {
if (this.importStack.contains(configClass)) {
this.problemReporter.error(new CircularImportProblem(configClass, this.importStack));
}
else {
this.importStack.push(configClass);
try {
processConfigurationClass(memberClass.asConfigClass(configClass));
}
finally {
this.importStack.pop();
}
}
}
}
}
处理@PropertySource注解
private void processPropertySource(AnnotationAttributes propertySource) throws IOException {
...
// 获取注解的value
String[] locations = propertySource.getStringArray("value");
Assert.isTrue(locations.length > 0, "At least one @PropertySource(value) location is required");
boolean ignoreResourceNotFound = propertySource.getBoolean("ignoreResourceNotFound");
Class<? extends PropertySourceFactory> factoryClass = propertySource.getClass("factory");
PropertySourceFactory factory = (factoryClass == PropertySourceFactory.class ?
DEFAULT_PROPERTY_SOURCE_FACTORY : BeanUtils.instantiateClass(factoryClass));
// 解析所有value数组中的值
for (String location : locations) {
try {
String resolvedLocation = this.environment.resolveRequiredPlaceholders(location);
Resource resource = this.resourceLoader.getResource(resolvedLocation);
// 添加到BeanFactory的PropertySource集合中
addPropertySource(factory.createPropertySource(name, new EncodedResource(resource, encoding)));
}
catch ...
}
}
处理@ComponentScan注解
// 处理@ComponentScan注解
Set<AnnotationAttributes> componentScans = AnnotationConfigUtils.attributesForRepeatable(
sourceClass.getMetadata(), ComponentScans.class, ComponentScan.class);
if (!componentScans.isEmpty() &&
// @Condition注解
!this.conditionEvaluator.shouldSkip(sourceClass.getMetadata(), ConfigurationPhase.REGISTER_BEAN)) {
for (AnnotationAttributes componentScan : componentScans) {
// The config class is annotated with @ComponentScan -> perform the scan immediately
// 获取@ComponentScan包下所有的类
Set<BeanDefinitionHolder> scannedBeanDefinitions =
this.componentScanParser.parse(componentScan, sourceClass.getMetadata().getClassName());
// Check the set of scanned definitions for any further config classes and parse recursively if needed
// 遍历扫描到的所有类,看是否有被特定注解修饰的类
for (BeanDefinitionHolder holder : scannedBeanDefinitions) {
BeanDefinition bdCand = holder.getBeanDefinition().getOriginatingBeanDefinition();
if (bdCand == null) {
bdCand = holder.getBeanDefinition();
}
// 如果有满足条件的类,则递归parse
// 每次调用parse方法,都会把该BeanDefinition存储在集合中,后续添加入BeanFactory
if (ConfigurationClassUtils.checkConfigurationClassCandidate(bdCand, this.metadataReaderFactory)) {
parse(bdCand.getBeanClassName(), holder.getBeanName());
}
}
}
}
处理@Import注解
private void processImports(ConfigurationClass configClass, SourceClass currentSourceClass,
Collection<SourceClass> importCandidates, boolean checkForCircularImports) {
...
// 检测循环引用
if (checkForCircularImports && isChainedImportOnStack(configClass)) {
this.problemReporter.error(new CircularImportProblem(configClass, this.importStack));
}
else {
this.importStack.push(configClass);
try {
// 处理Import的类
for (SourceClass candidate : importCandidates) {
// 导入的是 ImportSelector.class
if (candidate.isAssignable(ImportSelector.class)) {
// Candidate class is an ImportSelector -> delegate to it to determine imports
// 构建selector
Class<?> candidateClass = candidate.loadClass();
ImportSelector selector = BeanUtils.instantiateClass(candidateClass, ImportSelector.class);
ParserStrategyUtils.invokeAwareMethods(
selector, this.environment, this.resourceLoader, this.registry);
// 这里的逻辑是检测selector可不可以延迟处理,
// 如果可以,加到集合中,否则立即执行
if (this.deferredImportSelectors != null && selector instanceof DeferredImportSelector) {
this.deferredImportSelectors.add(
new DeferredImportSelectorHolder(configClass, (DeferredImportSelector) selector));
}
else {
String[] importClassNames = selector.selectImports(currentSourceClass.getMetadata());
Collection<SourceClass> importSourceClasses = asSourceClasses(importClassNames);
processImports(configClass, currentSourceClass, importSourceClasses, false);
}
}
// 导入的是 ImportBeanDefinitionRegistrar.class
else if (candidate.isAssignable(ImportBeanDefinitionRegistrar.class)) {
// Candidate class is an ImportBeanDefinitionRegistrar ->
// delegate to it to register additional bean definitions
// 构建registrar
Class<?> candidateClass = candidate.loadClass();
ImportBeanDefinitionRegistrar registrar =
BeanUtils.instantiateClass(candidateClass, ImportBeanDefinitionRegistrar.class);
ParserStrategyUtils.invokeAwareMethods(
registrar, this.environment, this.resourceLoader, this.registry);
// 把registrar注册到集合中,供后续处理
configClass.addImportBeanDefinitionRegistrar(registrar, currentSourceClass.getMetadata());
}
// 这里,将其当做Bean处理
else
{
// Candidate class not an ImportSelector or ImportBeanDefinitionRegistrar ->
// process it as an @Configuration class
this.importStack.registerImport(
currentSourceClass.getMetadata(), candidate.getMetadata().getClassName());
// 当做BeanDefinition,重新走主流程
processConfigurationClass(candidate.asConfigClass(configClass));
}
}
}
catch ...
finally {
this.importStack.pop();
}
}
}
处理@Bean注解
// Process individual @Bean methods
// 扫描所有被@Bean修饰的方法
Set<MethodMetadata> beanMethods = retrieveBeanMethodMetadata(sourceClass);
// 将被@Bean修饰的方法添加到集合中,供后续转化为BeanDefinition
for (MethodMetadata methodMetadata : beanMethods) {
configClass.addBeanMethod(new BeanMethod(methodMetadata, configClass));
}
private void processInterfaces(ConfigurationClass configClass, SourceClass sourceClass) throws IOException {
// 循环处理该类实现的所有接口
for (SourceClass ifc : sourceClass.getInterfaces()) {
// 获取接口被@Bean修饰的方法,循环处理
Set<MethodMetadata> beanMethods = retrieveBeanMethodMetadata(ifc);
for (MethodMetadata methodMetadata : beanMethods) {
// 如果该方法是abstract的,就有其默认实现,后续转化为BeanDefinition
if (!methodMetadata.isAbstract()) {
// A default method or other concrete method on a Java 8+ interface...
configClass.addBeanMethod(new BeanMethod(methodMetadata, configClass));
}
}
processInterfaces(configClass, ifc);
}
}
总结
Spring中ConfigurationClassPostProcessor的postProcessBeanDefinitionRegistry()方法,使用递归的逻辑,解决了Spring中注解定义BeanDefinition的问题。
